雨雪传感器
- 产品介绍
MC-YX型雨雪传感器
1 | 概述 |
雨雪传感器利用雨水的导电特性,采用表面栅形电极感应外界雨雪情况,检测是否有雨雪,内部采用智能微处理器,内置自动加热装置可排除雨雪附着的干扰,保障系统的正常运行。继电器为一组常开、一组常闭,方便安装使用。

2 | 雨雪传感器特点 |
1、体积小,安装方便
2、结构设计合理
3 | 适用范围 |
适用于实现对雨雪有无的测量,可广泛用于气象、海洋、环境、机场、港口、实验室、工农业及交通等领域的雨雪有无定性测量
4 | 外形规格 |

5 | 技术参数 |
供电电压:12~24V DC
输出信号:继电器,常开(标配),另可选配常闭 RS485
工作电流:10mA@12V(非加热) 1A@12V(加热)
加热方式:自动
负载能力:AC 220V 1A DC 24V 2A
电缆长度:2米四线制(标配)
6 | 接线方式 |
红色:电源正极
黑色:电源负极
绿色:信号A
黄色:信号B
注意:接线时一定要小心,如果电源电压过高或极性接反,将造成传感器的永久性损坏
RS485协议报文
修改地址,例如:将地址为01的传感器改地址为02,主机→从机
原地址 | 功能码 | 预留1 | 预留2 | 预留3 | 新地址 | CRC16低 | CRC16高 |
01 | 06 | 00 | 00 | 00 | 02 | 08 | 0B |
若传感器接收正确,原样返回
如果忘记传感器的地址,可以使用广播地址FE来更改,主机→从机
广播地址 | 功能码 | 预留1 | 预留2 | 预留3 | 新地址 | CRC16低 | CRC16高 |
FE | 06 | 00 | 00 | 00 | 01 | 5C | 05 |
若雨雪传感器接收正确,则原样返回
注:使用广播地址FE时主机在同一时间只能接一个从机。
三、查询数据
查询传感器(地址为01)的数据,主机→从机
地址 | 功能码 | 起始寄存器地址高 | 起始寄存器地址低 | 寄存器长度高 | 寄存器长度低 | CRC16低 | CRC16高 |
01 | 03 | 00 | 00 | 00 | 01 | 84 | 0A |
地址 | 功能码 | 数据长度 | 寄存器0数据高 | 寄存器0数据低 | CRC16低 | CRC16高 |
01 | 03 | 02 | 00 | 01 | 79 | 84 |
降雨雪状态:01表示有,00表示无 | ||||||
数据表示方法:数据寄存器数据低显示:01表示有雨或者雪,00表示无雨雪。
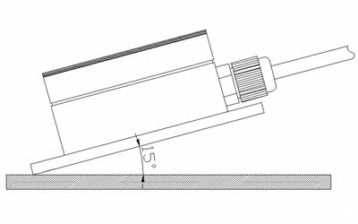
7 | 雨雪传感器安装方式 |
安装时,应保持传感器感应面与水平面成15度夹角,以防雨、雪的堆积对传感器测量造成影响。

8 | 维护和保养 |
雨雪传感器是具有优良设计和功能原理的科技产品,应注意维护和保养。下列建议将帮助您有效使用保养服务。
1、避免仪器被刮划,保持外部保护膜完整性,增加仪器使用寿命。
2、粗暴地对待仪器会毁坏内部电路板及精密的结构。
3、使用清洁、干燥的软布清洁仪器外部。

9 | 产品保修 |
本产品保修期为一年。从发货之日算起,十二个月内,因传感器质量问题(非人为损坏)而引起的故障,本公司负责免费维修或更换,超过保修期后只收成本费。




